商业计划书:阿特斯光伏组件及光伏接线盒安装方法专利

1. 执行摘要
本商业计划书旨在介绍阿特斯公司申请的一项创新专利技术,该技术涉及光伏组件及其接线盒的安装方法。该专利技术通过简化结构和安装工艺,显著降低了成本,同时改善了散热效果,从而延长了光伏组件的使用寿命。本计划书将详细阐述该技术的优势、市场分析、营销策略、财务预测及风险评估。
2. 公司概述
阿特斯公司是一家专注于太阳能光伏技术研发和应用的高新技术企业。公司拥有一支由资深工程师和科研人员组成的研发团队,致力于通过技术创新推动光伏行业的进步,提高能源利用效率。
3. 产品描述
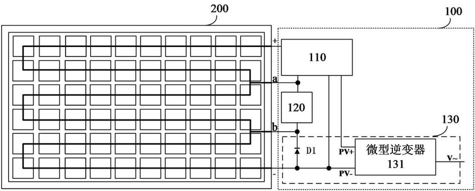
阿特斯公司的光伏组件安装方法专利技术,通过优化组件的结构设计,简化了安装过程中的多个步骤。新的安装方法不仅减少了安装时间,降低了人力和材料成本。
与传统的接线盒安装相比,阿特斯的新技术采用了更为紧凑的设计,减少了接线盒的体积,同时提高了接线盒的散热性能。这种设计不仅使得接线盒的安装更为简便,显著提高了其耐用性和可靠性。
4. 市场分析
本技术主要面向全球光伏组件制造商、安装商以及大型光伏电站项目。全球对可再生能源需求的增加,光伏市场预计将持续增长。
尽管市场上已有多种光伏组件和接线盒的安装技术,但阿特斯的技术在简化安装工艺和降低成本方面具有明显优势。改善的散热效果和延长的使用寿命也是其竞争力的关键。
5. 营销策略
阿特斯将通过参加国际光伏展览会、发布技术白皮书、以及与行业媒体合作等方式,推广其专利技术。
公司将建立一支专业的销售团队,直接与光伏组件制造商和大型项目承包商合作,提供定制化的技术解决方案。
6. 财务预测
预计在专利技术推广的第一年内,公司将实现收入增长30%,市场的逐步接受,预计未来五年内收入将保持20%的年增长率。
由于安装工艺的简化,预计成本将降低15%,这将进一步提升公司的利润率。
7. 风险评估
尽管阿特斯的技术已通过多项测试,但仍需持续关注技术更新和市场需求的变化。
全球经济波动和政策变化可能影响光伏市场的需求。
保护知识产权是公司的重要任务,需要持续监控和维护专利权的有效性。
8. 结论
阿特斯公司的光伏组件及接线盒安装方法专利技术,凭借其创新的设计和显著的成本效益,有望在光伏市场中占据重要地位。通过有效的市场推广和销售策略,公司将能够实现可持续的增长和盈利。
版权声明:本文为 “联成科技技术有限公司” 原创文章,转载请附上原文出处链接及本声明;